Страница 1 из 1
Как снять трос стояночного тормоза с суппорта ?

Добавлено:
24.05.11 09:41
Driver_009
Мужики подскажите плз, как отсоединить от суппорта трос ручника??? закалибался уже. Пытался плосокогубцами и отверткой как-то снять петлю троса с рычажка на суппорте - безуспешно. Подскажите как снять заразу?
Re: Срочный хелп!

Добавлено:
24.05.11 10:06
thlaspi
Вот и я бы спросил, пару часов поковырял и отрезал трос ножницами по металлу, езжу без ручника. Подозреваю, что трос надо ослаблять где-то под машиной, иначе не стянуть.
Re: Срочный хелп!

Добавлено:
24.05.11 10:21
Driver_009
В мануале (
knowledge/kb_show.php?id=171) на картинке показано, что мужик просто пальцами !!! снимает эту петлю. Мануал на немецком, поэтому понять как это ему удается непонятно.
Гуру подскажите, реально надо где-то ослаблять под днищем трос для этого?
Re: Срочный хелп!

Добавлено:
24.05.11 11:22
dima_spb
Гуру-хуюру))
Там в районе подвесного, над карданом, есть скобка такая, которая трос держит. Там и можно ослабить.
Re: Срочный хелп!

Добавлено:
24.05.11 11:34
Мatador
зачем скобка? там пластиковая гайка и контр гайка (под авто). Ослабляешь и снимаешь. Либо с супорта болт откручиваешь - но потом хрен поставишь - ошибался так по не имению возможности ослабить. Потом резьбу резал по новой.

Re: Срочный хелп!

Добавлено:
24.05.11 11:54
Driver_009
Возможности под машину залезть в данный момент нету вообще !
Мatador пишет:либо с супорта болт откручиваешь - но потом хрен поставишь - ошибался так по не имению возможности ослабить. Потом резьбу резал по новой.
болт обратной пружины имеешь ввиду? Его уже открутил, пружину снял - особо не помогает, т.к. сам рычажок снять не удается, он только приподнимается, но вытаскиваться не хочет, силой не стал снимать - боюсь сломать от незнания.
Re: Срочный хелп!

Добавлено:
24.05.11 12:11
Souleyman
За такой заголовок темы можно и еще один горчичник, не?
Вот будет в теме ценная инфа, способная помочь другим, и как ее найти по этому бессмысленному "срочному хэлпу"?
А потом жалуемся, типа, поиском не найти, так не найти
Re: Срочный хелп!

Добавлено:
24.05.11 12:20
Driver_009
Souleyman, сори, на будущее учту.
Re: Срочный хелп!

Добавлено:
24.05.11 12:29
grin47
Driver_009 пишет:Возможности под машину залезть в данный момент нету вообще !
Значит, нечего в суппорт лезть. Как это, "нету вообще", там под машиной лужа с гамном что ли? Подстели картонку, ляг и ослабь трос. Там две пластиковые гайки и пластиковый же фиксирующий штырек, крутятся гайки рукой, штырек не трогай, он будет просто отгибаться и перещелкиваться. Потом плоскогубцами стяни эту
злоеб злополучную петлю. Она, правда, упрямая, но стянуть её реально.
thlaspi пишет:Вот и я бы спросил, пару часов поковырял и отрезал трос ножницами по металлу, езжу без ручника. Подозреваю, что трос надо ослаблять где-то под машиной, иначе не стянуть.
Напомнило отзыв о фильме Адмирал. "Уже к середине фильма появилось такое подозрение, что Колчака расстреляют. Так и вышло."
А чтобы колодки поменять, ты суппорт будешь болгаркой разрезать?

Re: Срочный хелп!

Добавлено:
24.05.11 13:32
Driver_009
grin47 пишет:Значит, нечего в суппорт лезть. Как это, "нету вообще", там под машиной лужа с гамном что ли? Подстели картонку, ляг и ослабь трос. Там две пластиковые гайки и пластиковый же фиксирующий штырек, крутятся гайки рукой, штырек не трогай, он будет просто отгибаться и перещелкиваться. Потом плоскогубцами стяни эту злоеб злополучную петлю. Она, правда, упрямая, но стянуть её реально.
Не лезть не могу - суппорт надо починить - заклинило,в конце концов - вытекла тормозуха. Тачло упало с домкрата - я дурак в ахтунге решил ослабить трос - и ручник отключил - авто вперед... тут без коментов прошу.
В общем в принципе понятно: в районе подвесного подшипника кардана можно ослабить тросик. Ремкомплект суппорта уже давно куплен, но почитал FAQ - одному менять без мазы + может потребоваться шлифовка (это точно к проф.) - нашел контору в теме про подвеску, которая ремонтит в том числе и суппорта 1800р/шт кому интересно
http://remzo.wmsite.ru/. До этого хотел купить б/у за 2000р., но как увидел что это, даже в руки брать не хотелось - какой-там на авто ставить - такое г...о по-моему только на помойку, продавать стыдно,при чем они все такие.
Вопрос еще: шланг откручивается в районе рычага , а не суппорта - правильно? насколько чревато сорвать грани?
Re: Как снять трос стояночного тормоза с суппорта ?

Добавлено:
24.05.11 14:22
grin47
Я все равно не понял, почему нельзя лечь под машину :)
Driver_009 пишет:одному менять без мазы
Четыре руки в суппорт не поместятся. Помощник нужен только в одной операции при сборке, и то, можно без него обойтись.
Driver_009 пишет:может потребоваться шлифовка (это точно к проф.)
Шток ручника я сам шлифовал очень мелкой шкуркой. Люди и поршень умудрялись восстанавливать у себя на кухне. Поеденные ржавчиной места зачищают, лудят и заполняют обычным припоем. Потом напильником убирают лишнее и доводят всю поверхность шкуркой. Служит годами.
Driver_009 пишет:До этого хотел купить б/у за 2000р., но как увидел что это, даже в руки брать не хотелось - какой-там на авто ставить - такое г...о по-моему только на помойку, продавать стыдно,при чем они все такие.
Как оценил? Снаружи они все будут ржавые и грязные. надо снимать резинки, выкручивать поршень и оценивать рабочие поверхности. Я так с первого раза нашел отличный суппорт в куче хлама. Можно просто купить рабочий суппорт и совсем туда не лазить, но никто не скажет, сколько он еще будет рабочим, месяц или пять лет.
Driver_009 пишет:шланг откручивается в районе рычага , а не суппорта - правильно? насколько чревато сорвать грани?
Шланг откручивается и на суппорте и на рычаге. Грани срываются легко, возможно, придется пользоваться газовым ключем, поэтому шланги надо сразу новые под рукой иметь.
Re: Как снять трос стояночного тормоза с суппорта ?

Добавлено:
24.05.11 15:06
Driver_009
grin47 пишет:Люди и поршень умудрялись восстанавливать у себя на кухне. Поеденные ржавчиной места зачищают, лудят и заполняют обычным припоем. Потом напильником убирают лишнее и доводят всю поверхность шкуркой. Служит годами.
Вот это я лучше 1800 р отдам :))).
grin47 пишет:Помощник нужен только в одной операции при сборке, и то, можно без него обойтись.
грамотного помощника нет, и я операцию до конца не понял - надо пружину сгибать (в FAQ написано, что легко погнуть если в сторону больше надавить) - соответственно разобрать будет легко, а собрать по отчетам не на раз-два.
grin47 пишет:Как оценил? Снаружи они все будут ржавые и грязные.
Они не просто грязные и ржавые, а тупо уже куски ржи (по крайней мере что было у продавца в наличии): поверхности (2 уса суппорта), которые прижимают колодку с глубоким сильным короблением от короззии, про поверхность поршня вообще молчу, поэтому решил что внутри не мала вероятность, что состояние не гуд (по крайней мере не лучше моего, мой по сравнению с этими экземплярами просто новый!) - поэтому решил его отремонитить за те же деньги + сервис дает гарантию.
Так же напомню, что при таком ремонте (заклинивание суппорта) меняются и колодки (600-1000р.), и диски (1600-2500р.) с обоих сторон (т.к. с одной стороны все мясо) + желательно направляющие (800р. - ориг. комплект с одной стороны х 2 = 1600р.). Соответственно дабы не рисковать повторной заменой дисков и колодок по причине выхода из строя в будущем замененного б/у суппорта и/или суппорта с другой стороны, лучше восстановить оба с 2- сторон по цене б/у (через н-ое кол-во поездок на ручнике первым заклинило какой-то из 2-х суппортов, соответственно 2-ой на очереди). Задиры поверхностей поршня и цилиндра конечно могут быть уже не пригодны для восстановления, но если такое обнаружится при диагностике, то в сервисе делать не будут и деньги не возьмут - это сказали прямым текстом, объяснив, что дают гарантию.
grin47 пишет:шланги надо сразу новые под рукой иметь.
имеется new естественно.
Re: Как снять трос стояночного тормоза с суппорта ?

Добавлено:
24.05.11 22:51
grin47
1800 за оба суппорта? Тогда недорого, можно и не заморачиваться самому. Хотя, там, правда, ничего особо сложного. Даже интересно. Если гараж есть.
А вот 800 за направляющие это ипануться-не-встать. Тем более, когда существуют точно такие же от восьмерки за 60 руб :)
Re: Как снять трос стояночного тормоза с суппорта ?

Добавлено:
24.05.11 23:15
Comander Shran
Driver_009 пишет: Подскажите как снять заразу?
Отстегнуть скобу выравнивателя натяжения от ручки стояночного - над карданом .потом само получится.По другому не хватает длины троса ,гайки пластмассовые . что отвечают за натяжение крутить бесполезно.
Re: Как снять трос стояночного тормоза с суппорта ?

Добавлено:
24.05.11 23:22
Comander Shran
Driver_009 пишет:Вот это я лучше 1800 р отдам :))).
Точно - купи новые и не морочся.А направляющие пальцы , как сказано выше подходят от ВАЗ 2108(от переднего суппорта). Разница - родные - ключ на15 , от восьмерки на 17.Зато цена - сказка.Сам себ ставил.все ок.
Re: Как снять трос стояночного тормоза с суппорта ?

Добавлено:
25.05.11 00:08
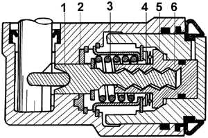
psf735
Сначало пластиковый регулятор(5) максимально ослабляешь,затем снимаешь выравниватель(3) и выводишь петли с супорта


- foto16-20r.jpg (18.87 КБ) Просмотров: 12051
После такой процедуры я подрезал крючки супорта где то на пол см,теперь что бы снять не надо снимать выравниватель

а просто ослабляешь натяжку троса
Re: Как снять трос стояночного тормоза с суппорта ?

Добавлено:
25.05.11 10:11
Driver_009
grin47 пишет:1800 за оба суппорта?
цена за один суппорт + ремкопмлект резинок 250р. в existe - фирма Sensa. 1 б/у суппорт стоит 2000 т.р. За 1800 р. в том числе производят шлифовку грамотные слесаря, что самому произвести проблемно на мой взгляд. Поэтому эффективнее получить восстановленный, чем за те же деньги непонятный б/у ставить и рисковать (чем см. выше).
grin47 пишет:существуют точно такие же от восьмерки за 60 руб :)
да в FAQ прочитал, спасибо! главное не пожмотиться на спец. смазку для направляющих.
Comander Shran пишет:Точно - купи новые и не морочся.
новые суппорта стоят 5000 р/шт.
Comander Shran,
psf735 спасибо за подробную инструкцию
psf735 пишет:подрезал крючки супорта где то на пол см,теперь просто ослабляешь натяжку троса
умно, только как подрезал? конец крючка укоротил или его толщину.
Re: Как снять трос стояночного тормоза с суппорта ?

Добавлено:
25.05.11 10:53
Driver_009
Посмотрел цены на направляющие от 2108:
http://www.avtoall.ru/goods/?skod=00021&kod=012945http://www.galstrade.ru/product_info.ph ... s_id=11170позвонил уточнить так и есть 1направляющая (1 шт.) - 430 р.!!! х 2 = 860 р. Как комплект родных стоит!!! где искать обещанные 60 р.?!
Re: Как снять трос стояночного тормоза с суппорта ?

Добавлено:
25.05.11 12:22
grin47
Comander Shran пишет:Отстегнуть скобу выравнивателя натяжения от ручки стояночного - над карданом .потом само получится.По другому не хватает длины троса ,гайки пластмассовые . что отвечают за натяжение крутить бесполезно.
Я, конечно, давненько уже это делал, но помню точно, что выравниватель я даже руками не трогал никогда. Без ослабления троса петли не снимались тоже точно.
Driver_009 пишет:цена за один суппорт + ремкопмлект резинок 250р
А, ну если 4000 за переборку обоих суппортов, то это дорого. Может открыть контору по переборке суппортов?... :)
Driver_009 пишет:За 1800 р. в том числе производят шлифовку грамотные слесаря, что самому произвести проблемно на мой взгляд.
У них, конечно же, есть токарный станок? Иначе, их шлифовка не отличается от той, что можно провести самому.
Driver_009 пишет:спец. смазку для направляющих
Что-нибудь типа солидола надо, только чтобы перепадов температуры и воды не боялся. Я мазал синей смазкой Азмол 158.
Driver_009 пишет:Посмотрел цены на направляющие от 2108:
Ты хочешь поменять направляющие пальцы или скобу суппорта? Скоба от восьмерки не подойдет, а пальцы продаются в любом крупном тазо-магазине.
Driver_009 пишет:1 б/у суппорт стоит 2000 т.р.
Имхо, дорого. За два суппорта нормально.
Re: Как снять трос стояночного тормоза с суппорта ?

Добавлено:
25.05.11 14:55
Driver_009
grin47 пишет:если 4000 за переборку обоих суппортов, то это дорого.
grin47 пишет:Иначе, их шлифовка не отличается от той, что можно провести самому.
grin47 пишет:Имхо, дорого. За два суппорта нормально.
2 тр стоит б/у суппорт, у которого работает механизм ручника, за 1 тр где данный механизм не работает - такие цены.
Сервис был рекомендован на форуме, отзывы положительные, дают гарантию (на шаровые по крайней мере 80-100 тыс.км.)
http://remzo.wmsite.ru/clients/remont-supportov. Я не сомневаюсь, что шлифовку они производят на станке :), по крайней мере по тел. стало понятно , что работают честно и халтурить не будут. Ремкомплекты покупать по-любому. Цены московские, поэтому возможно в регионах за такую работу возьмут в несколько раз дешевле, как раз и выйдет 1000р/ суппорт - поэтому целесообразность восстановлениня своих суппортов по сравнению с установкой непроверенного б/у остается как не крути.
Re: Как снять трос стояночного тормоза с суппорта ?

Добавлено:
25.05.11 19:32
Souleyman
а сколько сейчас какие-нить NK стоят? там-то все новое, кроме восстановленного корпуса. брал себе такие, чтоб не париться.
Re: Как снять трос стояночного тормоза с суппорта ?

Добавлено:
25.05.11 20:09
grin47
Souleyman
Тысяч 5 за штуку было в том году.
Интересно, а нельзя ли подобрать поршни от чего-то нового? Никто не заморачивался?
Re: Как снять трос стояночного тормоза с суппорта ?

Добавлено:
25.05.11 22:12
Driver_009
Souleyman пишет:а сколько сейчас какие-нить NK стоят?
верно - 5 тыщ
http://www.exist.ru/price.aspx?pid=1820063A&sr=61
Re: Как снять трос стояночного тормоза с суппорта ?

Добавлено:
26.05.11 09:06
Driver_009
Направляющие суппорта от восьмерки купил = 40р./шт., в магазина тоже не сразу поняли, пока не показал в каталоге пальцем :) направляющая колодок - это cкоба.
Re: Как снять трос стояночного тормоза с суппорта ?

Добавлено:
27.05.11 02:28
ender11
что-то я не догоняю... какая проблема снять трос с суппорта? откручивается суппорт, снимается с троса и всё...
Re: Как снять трос стояночного тормоза с суппорта ?

Добавлено:
27.05.11 08:03
psf735
А ты вообще то видел как трос на супорте закреплен?

Re: Как снять трос стояночного тормоза с суппорта ?

Добавлено:
27.05.11 08:25
Driver_009
ender11 пишет:откручивается суппорт, снимается с троса и всё...
с виду мне тоже так показалось, А у тебя так получилось, или это только догадки?
Вопрос: если поршень по сути выполз из суппорта, держится за счет пыльника - его можно утопить обратно руками, или уже надо разбирать для этого?
Re: Как снять трос стояночного тормоза с суппорта ?

Добавлено:
27.05.11 08:43
psf735
"Открутил супорт и снял трос..."-это рассуждения дилетанта-оболочка троса жестко входит в супорт и пока ты трос не ослабишь и не снимкшь с супорта(см выше) оболочку не снимешь.

Re: Как снять трос стояночного тормоза с суппорта ?

Добавлено:
27.05.11 09:01
Driver_009
psf735, по тросу ручника понятно.
а по утапливанию суппорта? его руками можно обратно утопить (гайку прокачки тормозов при этом естественно отвернув), если он до конца вылез по сути и держится на манжете ?
Re: Как снять трос стояночного тормоза с суппорта ?

Добавлено:
27.05.11 09:17
psf735
Передние элементарно утапливаются руками ,а задние не утапливаются а вворачиваются приспособой(я использую ключ от болгарина)жмешь на поршень и заворачиваешь ключем

Re: Как снять трос стояночного тормоза с суппорта ?

Добавлено:
27.05.11 10:20
Driver_009
psf735, хочу уточнить: поршень болтается у меня, т.е. вылез получается совсем (не выпал только, потому что пыльник немного держит)- его можно таким вворачиванием утопить ?
Re: Как снять трос стояночного тормоза с суппорта ?

Добавлено:
27.05.11 10:30
grin47
Да. Только проследи, чтобы ровно вошел и по резьбе.
Re: Как снять трос стояночного тормоза с суппорта ?

Добавлено:
27.05.11 10:54
Driver_009
grin47 , а как проследить ? пыльник мешает же? блин про резьбу - новое для меня

: там реально резьб а есть ?
Re: Как снять трос стояночного тормоза с суппорта ?

Добавлено:
27.05.11 12:35
grin47
Да. Это сложно объяснить, видеть надо, но такова конструкция механизма ручника на многих машинах. Когда на поршень давят изнутри, резьба проворачивается, а если надо надавить снаружи, то только вращая сам поршень, резьба там непростая.
Проследи примерно положение поршня относительно корпуса суппорта, ну и руками чуй. Если не идет, выверни и еще раз попробуй. Можешь пыльник снять, чтобы посмотреть, как там что устроено. Одевать только со смазкой.
Re: Как снять трос стояночного тормоза с суппорта ?

Добавлено:
27.05.11 13:14
padla bear
Driver_009
По любому надо купить рем комплект резинок на супорт,они уже всяк при таком выходе половина сношенны,(+ направляющие с зубила,как уже раннее говорили)сам целиндр шлифануть при коррозии войлоком,трос ручника точно менять и в последствие раз в 2-3 недели дёргать,иначе сиптомы будут повторяться с завидной частотой,перед сборкой в обратку продуть всё ,и постараться что бы грязь в подвижные элементы не попала!
З.Ы. вобщем процесс не столько сложный,чем по первости страшный,проще как мне кажеться отдать супорт на переборку "Дядь Васе" и посмотреть как он всё делает потом всё это самому пройти,для изготовы приспособы по закручеванею-выкручиванию поршня,нужен обрезок трубы чуть меньшего диаметра и болгарин.
Re: Как снять трос стояночного тормоза с суппорта ?

Добавлено:
27.05.11 14:21
Driver_009
padla bear, все правильно, все купил и отнесу (см. выше), но разобрать хочу у друга в гараже, чтоб оставить авто можно было в разобраном виде.
Для этого надо как-то доехать до гаража.
В какую стороны поршень закручивать - по часовой как обычно?
Re: Как снять трос стояночного тормоза с суппорта ?

Добавлено:
27.05.11 16:06
padla bear
Всё так,но главное ему не помогать шанцевым инструментом,если недалеко ехать ,можно гвозём с потходящей шляпой трубку заглушить,всяк немного сочиться будет но очч.мало,я на таком с Киева до Рязани доезжал,главное об этом помнить и резко не тормозить.
Re: Как снять трос стояночного тормоза с суппорта ?

Добавлено:
27.05.11 22:18
grin47
Driver_009 пишет:все купил и отнесу (см. выше), но разобрать хочу у друга в гараже
А как разберешь, может и сам перебрать захочешь :) Если поршень со штоком не ржавые. Если надо, могу в пайнте набросать, как приспособу для сборки суппорта сварганить, которую в факе описывал.
Re: Как снять трос стояночного тормоза с суппорта ?

Добавлено:
28.05.11 11:11
Driver_009
grin47, ваще супер было бы !!!
Re: Как снять трос стояночного тормоза с суппорта ?

Добавлено:
30.05.11 21:58
grin47
ОК, попробую.
Как говорилось в факе, в суппорт нужно вставить тугую пружину, сверху неё цилиндрик с прорезями, а потом сверху всего этого стопорное кольцо. Всё осложняется тем, что орудовать спец.инструментом для кольца в тесноте, одновременно сжимая пружину, весьма тяжело. Значит надо чем-то зафиксировать конструкцию, например помощником или тем, что я нарисовал, и уже спокойно, не спеша одеть колечко.
Вот инструмент, он так и называется "съемник стопорных колец".

- 78.jpg (19.97 КБ) Просмотров: 8523
Вот съемник подшипников, без которого мне пришлось обходиться. У того, что на картинке надо снять лапки и вкрутить болт с другой стороны, чтобы плоская часть легла на лапы суппорта.

- AD41820.jpg (13.11 КБ) Просмотров: 8523
Поскольку заранее я не знал, что понадобится съемник подшипников, пришлось собирать подобную вещь из того, что было под рукой. Я использовал пластину, крепящую скорповский аккумулятор, подходящий болт с гайкой, головка на 16-17 с вставленной гайкой и накрытая какой-то шайбой, чтобы наш болт не провалился в головку. Пластина погнулась, но потом легко выправилась кувалдой.

- Суппорт.JPG (100.04 КБ) Просмотров: 8523
Крутил болт одним ключом, гайку держал другим, при этом следил, чтобы хрень с прорезями вошла в свое отверстие, а не уперлась куда не следует.
А вот вариант со съемником.

- Суппорт2.JPG (52.4 КБ) Просмотров: 8523
На картинке две прорези под кольца, но я уж не стал рисовать весь суппорт, а только интересующие нас механизмы. Всё, что ниже и первое кольцо одеваются легко, а уже поверх него хрень с прорезями и пружиной и второе кольцо.
Почему нужна головка, а нельзя сразу положить шайбу на хрень с прорезями и крутить? Потому что из этой хрени торчит шток с резьбой, на который и накручивается поршень, когда мы его крутим ключом от болгарки.
Любому, кто разбирал суппорт, всё будет понятно. Если вы чего-то не поняли, попробуйте разобрать суппорт :)
Re: Как снять трос стояночного тормоза с суппорта ?

Добавлено:
30.05.11 22:16
grin47
Да, кстати. Когда вы будете разбирать суппорт и вытащите верхнее стоп.кольцо, пружина сильно выстрелит, поэтому направляйте её в стену или ловите как-нибудь. Я вставлял съемник в кольцо, накрывал всё обрезанной пятилитровой бутылкой и сжимал инструмент.
Re: Как снять трос стояночного тормоза с суппорта ?

Добавлено:
31.05.11 12:36
Driver_009
grin47, супер респект!!! надо FAQ добавить.
Re: Как снять трос стояночного тормоза с суппорта ?

Добавлено:
03.06.11 10:56
gricha
grin47Вчера днем когда смотрел на твои рисунки, то совсем ничего не понял
Затем вечером снял один суппорт, разобрал, собрал (вернее почти собрал). Сегодня опять посмотрел на твои рисунки - теперь всё понятно

Вобщем твоя схемка механизма сборки дельная, и действительно если кто чего-то не понял, то напросто полезть туда и сразу всё прояснится.
ПС: хотя я сдавливал ту пружину и ставил стопорное кольцо в тисках (поставив на головку удлинитель)
ПС2:
Подскажите как одеть пыльник на цилиндр 
? У меня вчера переборка суппорта на этой операции и закончилась. Если пыльник сначала на цилиндр одену, то в канавку хрен вставишь, если сначала в канавку вставлю, то на цилиндр хрен оденешь.
Re: Как снять трос стояночного тормоза с суппорта ?

Добавлено:
03.06.11 12:56
ford1972s
gricha пишет:если сначала в канавку вставлю, то на цилиндр хрен оденешь.
Только так,купаешь всё в тормозухе,сперва пыльник чуть на поршень одеваешь на 5 мм со стороны внутренности поршня,потом пыльник в суппорт,дальше понятно.
Re: Как снять трос стояночного тормоза с суппорта ?

Добавлено:
03.06.11 14:56
gricha
ford1972s
пару раз так вчера пробовал, но пыльник с поршня сразу соскальзывал. Сегодня попробую еще, надо ж его как-то одевать
Re: Как снять трос стояночного тормоза с суппорта ?

Добавлено:
03.06.11 14:58
ford1972s
Зажми в тиски суппорт и возьми помощника.
Re: Как снять трос стояночного тормоза с суппорта ?

Добавлено:
03.06.11 20:23
grin47
gricha пишет:Вчера днем когда смотрел на твои рисунки, то совсем ничего не понял

Затем вечером снял один суппорт, разобрал, собрал (вернее почти собрал). Сегодня опять посмотрел на твои рисунки - теперь всё понятно
Ну, я ж говорю :) Я, когда первый раз разбирал суппорт, смотрел фирменную картинку его внутренностей

- foto16-17r.jpg (16.12 КБ) Просмотров: 9100
и тоже ни фига не мог понять. Распечатал картинку, принес в гараж и на месте разобрался. Советую тем, кто будет разбирать в первый раз, тоже распечатать эту картинку, мои рисунки, описание из фака и с этим мануалом идти заниматься суппортом.
А вообще, эту картинку сразу надо в фак кинуть. Очень познавательная.
ford1972s пишет:купаешь всё в тормозухе,сперва пыльник чуть на поршень одеваешь на 5 мм со стороны внутренности поршня,потом пыльник в суппорт
gricha пишет:пару раз так вчера пробовал, но пыльник с поршня сразу соскальзывал
grichaА ты вытри пыльник от смазки, чтобы почти на сухую одевать. Её все равно всю не сотрешь, достаточно останется, чтобы не повредить резинку, зато ей соскользнуть труднее будет. На суппорт оденешь пыльник, поршень наживишь, а потом уже смажь поршень, чтобы пыльник до верха натянуть.
Re: Как снять трос стояночного тормоза с суппорта ?

Добавлено:
04.06.11 00:52
gricha
ford1972s, grin47
Всё верно. Сегодня закончил переборку суппортов. Пыльники легко одел именно таким способом: "сначала на край цилиндра, затем в паз, затем вкручивать цилиндр на место". Вчера просто видно после четырех литров пива пыльник почему-то был не послушным.
Re: Как снять трос стояночного тормоза с суппорта ?

Добавлено:
01.07.11 23:50
Comander Shran
padla bear пишет: мне кажеться отдать супорт на переборку
Есть другой вариант - купить новые суппорта.
Положительный момент - не нужен дядя Вася.Всякие съемники.
Отрицательный момент- требуются финансы прим 5 т.р за суппорт. А также остается неудовлентворенным творческий позыв/порыв в процессе изучения устройства заднего суппорта.
Я пошел по второму пути- купил новые..Причины сего выбора.
1.суппортам 20 лет.
2.пыльники сгнили в хлам .Чтобы их заменить нужно вытаскивать поршни.
3.привод ручника - поворотный сектор ,оставлял желать ...
4 для переборки узла требуется придумывать/покупать приспособы для разборки /сборки.
5.поршня уже старые и намяли выработку в корпусе , либо подношены сами - соответственно просто поменять резинки - толку мало.
Остается интерес устройства конструкции - ну почитаем мануал.
Итого - имеем новые тормоза , ну да бабло минус.
Закон сохранения железа .

Re: Как снять трос стояночного тормоза с суппорта ?

Добавлено:
09.07.11 17:53
Alek
а подскажите как можно подтянуть ручник, ато хреново держит. Сегодня на горе чуть назад не укатилась. Трос обязательно менять или можно как-то обойтись?
Re: Как снять трос стояночного тормоза с суппорта ?

Добавлено:
10.07.11 18:35
psf735
ь под своего любимого и крутишь пластиковые гайки под нумером 5 -одна контровочная вторая регулировочная


- foto16-20r.jpg (36.18 КБ) Просмотров: 9032