Страница 1 из 1
Кнопка стеклоподъемника

Добавлено:
09.10.20 11:30
Miblack
Всем привет. Ситуация следующая - в один прекрасный момент привод пассажирского стекла начал работать по собственному желанию, управляется и с пассажирской и с водительской двери, а сейчас может работать с одной но не реагировать на другую или вообще ни туда и ни сюда. Пробовал менять кнопки, почистил контакты соединения к дверям, к моторчику, но все равно живет своей жизнью. Подскажите где еще искать причину???
P.s. Водительская дверь работает исправно
Re: Кнопка стеклоподъемника

Добавлено:
09.10.20 12:33
Gгеnкіn
Причина в кнопке. Ее не надо чистить. Ее надо просто заменить.
Re: Кнопка стеклоподъемника

Добавлено:
09.10.20 13:21
Костя Луганск
Gгеnкіn пишет: Ее надо просто заменить.
Ещё остались места, где их можно раздобыть живые? На местных разборках, они закончились лет 10 назад, рабочие были по 10, нерабочие я скупил по 5$. Восстановил их не один десяток, но не чисткой контактов.

- кнопки.JPG (153.11 КБ) Просмотров: 9886
Miblack пишет:Пробовал менять кнопки, почистил контакты соединения к дверям, к моторчику, но все равно живет своей жизнью. Подскажите где еще искать причину???
В самих кнопках, начиная от окисленных контактов разъёма, приклёпанных к ним пластин и заканчивая подвижными контактами.
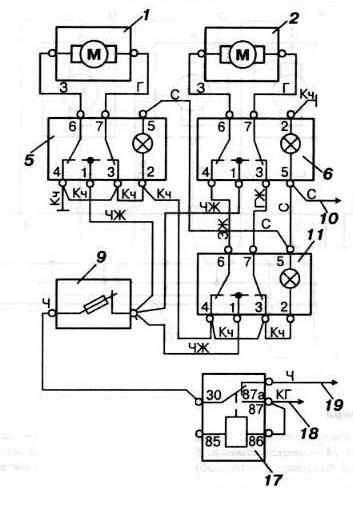
Для продления жизни кнопкам, можно добавить по паре релюшек в двери (цоколёвка указана, для кнопки переходного!!!):

- схемка.JPG (80.13 КБ) Просмотров: 9886
Re: Кнопка стеклоподъемника

Добавлено:
09.10.20 13:33
ford1972s
Да никаких релюх не надо,достаточно поставить кнопки от переходного или жигулей , они одинаковые. Рамочку под новые кнопки сколхозить - пять минут.
Re: Кнопка стеклоподъемника

Добавлено:
09.10.20 14:30
Костя Луганск
ford1972s пишет:Да никаких релюх не надо,достаточно поставить кнопки от переходного или жигулей , они одинаковые.
Да это я так - когда-то кто-то просил схемку набросать - по случаю заново выложил, вдруг кому таки захочется повозиться.
У меня релюх нет и не будет, две запасные кнопки лежат в подлокотнике - за лет несколько, большая ещё не пригодилась, а вот переходную (на лифте сидения) - приходилось менять, хоть не так часто им пользуюсь.
По переходным/лупатым - тоже когда-то расписывал:

- кнопки ЭСП.JPG (77.94 КБ) Просмотров: 9876
Re: Кнопка стеклоподъемника

Добавлено:
09.10.20 15:02
Miblack
Gгеnкіn пишет:Причина в кнопке. Ее не надо чистить. Ее надо просто заменить.
Дало в том, что они могут работать пару дней без заминки, а потом, в одно время не пашет не с пассажирской двери не с водительской, не запасная... а на утро обе работают и так по кругу. По этому я кнопки и исключил из возможных причин
Re: Кнопка стеклоподъемника

Добавлено:
09.10.20 15:03
Felix
ford1972s пишет: жигулей , они одинаковые. Рамочку под новые кнопки сколхозить - пять минут.
Фу, мне стыдно за тебя

.
Re: Кнопка стеклоподъемника

Добавлено:
09.10.20 15:14
Костя Луганск
Miblack пишет:в одно время не пашет не с пассажирской двери не с водительской, не запасная... а на утро обе работают и так по кругу.
Когда не работают, при нажатии на кнопку, свет притухает?
Ну и на всякий случай - ЭСП работают при вкл. зажигании или открытой водительской двери. Бывает, концевик не срабатывает.
Или это только пассажирский себя так ведёт?
Re: Кнопка стеклоподъемника

Добавлено:
09.10.20 15:52
Miblack
Костя Луганск пишет:Когда не работают, при нажатии на кнопку, свет притухает?
Ну и на всякий случай - ЭСП работают при вкл. зажигании или открытой водительской двери. Бывает, концевик не срабатывает.
Или это только пассажирский себя так ведёт?
По поводу света не скажу, не обращал внимание, гляну, отпишусь. А ЭСП работает и при зажигании и при открытой двери, не важно водительской или пассажирской, а когда перестает работать, не помогает ни зажигание ни дверь.
Re: Кнопка стеклоподъемника

Добавлено:
09.10.20 16:09
ford1972s
Обрати внимание на разъёмы кузов-дверь. Круглые гайки эти. Расцепи ,побрызгай WD и собери обратно. Хуже от этого не будет.
Re: Кнопка стеклоподъемника

Добавлено:
09.10.20 16:30
Miblack
ford1972s пишет:Обрати внимание на разъёмы кузов-дверь. Круглые гайки эти. Расцепи ,побрызгай WD и собери обратно. Хуже от этого не будет.
Проделал это не однократно, динамик работает, центральный замок тоже, а стекло выделывается. Соединение проводки с моторчиком в двери тоже почистил
Re: Кнопка стеклоподъемника

Добавлено:
09.10.20 18:40
ford1972s
Тогда по сути,провода от правой к левой идут под торпедой,и с ними быть ничего не должно. Остаются кнопки. При неисправной одной ,будет не работать с любой,так как контакты в свободном состоянии (на кнопку никто не нажимает) должны тоже пропускать ток,чего по видимому не происходит.
Ситуация: "водительская кнопка же работает и я ее переставлял на пассажирскую" ничего не проясняет,т.к. подключена по другому,проще.
Надо две совершенно исправных на пассажирскую сторону для нормальной работы.
Re: Кнопка стеклоподъемника

Добавлено:
09.10.20 19:35
Костя Луганск
Miblack пишет: стекло выделывается.
Повторю вопрос - когда "выделывается" - не работают оба ЭСП? Или только пассажирский?
Miblack пишет: и при открытой двери, не важно водительской или пассажирской
Так не должно быть. Либо зажигание, либо водительская дверь. При выключенном зажигании, послушай - при открывании вод. двери, в блоке предохранителей - релюшка щёлкает?
ford1972s пишет: Круглые гайки эти. Расцепи ,побрызгай WD и собери обратно. Хуже от этого не будет.
Недавно у себя поймал глюк - после установки сигналки, ЦЗ при закрывании (хоть брелком, хоть ключом) - тут же открывался. Нужно же было так совпасть - неудачно сняв/поставив разъём двери - выдавило иголку в кузовном разъёме, как раз на управление ЦЗ. Но часик повозился, пока нашёл))
Re: Кнопка стеклоподъемника

Добавлено:
09.10.20 19:42
Костя Луганск
ford1972s пишет:Надо две совершенно исправных на пассажирскую сторону для нормальной работы.
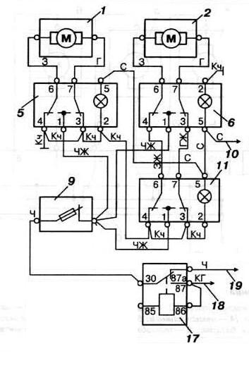
Подкреплю отредактированной схемой:

- эсп пд.JPG (31.98 КБ) Просмотров: 9854
Re: Кнопка стеклоподъемника

Добавлено:
09.10.20 22:23
stress
Исправных кнопок ещё достаточно в продаже,если хочется в состоянии ,,муха разок посидела,, от приводов задних диванов берите.
Re: Кнопка стеклоподъемника

Добавлено:
10.10.20 09:14
ford1972s
Они без подсветки
Re: Кнопка стеклоподъемника

Добавлено:
11.10.20 22:22
Gгеnкіn
Подсветка в кнопки легко инсталлируется.
Re: Кнопка стеклоподъемника

Добавлено:
13.10.20 12:37
Miblack
Я разобрал кнопку и почистил все, что можно почистить, пока работает. Большое спасибо за советы, я подумывал дальше в проводке искать. А стекло все же поднимается при открытой пассажирской двери, может предыдущий владелец что-то колхозил. В любом случае всем благодарен!
Re: Кнопка стеклоподъемника

Добавлено:
14.10.20 20:11
ford1972s
Miblack пишет:А стекло все же поднимается при открытой пассажирской двери, может предыдущий владелец что-то колхозил.
Или сгорел развязывающий диод в "колокольчике"под панелью.
Re: Кнопка стеклоподъемника

Добавлено:
14.10.20 21:24
Gгеnкіn
Miblack пишет:Я разобрал кнопку и почистил все, что можно почистить, пока работает.
Это не надолго. Поэтому, пока работает, ищи новую кнопку. Или хотя бы другую работающую. В скорпе вообще не лишнее возить с собой запасную кнопку. И если люк с электроприводом, то раздобыть где-нибудь ручку от ручного люка и возить ее с собой. Особенно если едешь куда-то далеко или машину хранишь на улице.

Re: Кнопка стеклоподъемника

Добавлено:
16.10.20 08:02
ford1972s
Ниправда. В Скорпе всё вечное,начиная с КПП N9,которой хватит внукам.(с)